H42W不銹鋼立式止回閥
產品概況
產品型號:H42W
公稱通徑:DN40~200mm
公稱壓力:PN1.6~2.5MPa
適用溫度:≤200
適用介質:腐蝕性介質、弱腐蝕介質
主要材質:鉻鎳鈦不銹鋼、鉻鎳鉬鈦不銹鋼
設計標準:API6D、JB/T8937、API594
結構長度:API594、JB/T8937
連接標準:ASME B16.5、GB/T 9113、JB/T 79、HG/T 20592
壓力試驗:API 598、GB/T 13927、JB/T 9092
壓力-溫度等級:ASME B16.34 、GB/T12224
H42W不銹鋼立式止回閥產品概述
百鋼閥門集團生產銷售的H42W不銹鋼立式止回閥正常處于關閉狀態,由于管線中進口端介質的壓力作用,而克服彈簧阻力使閥門開啟。當進口端介質壓力低于出口端時,彈簧將閥芯推向閥座而使閥門關閉,阻止介質逆流,故起止回作用。本閥門由于采用彈簧支撐閥芯,故采用立式安裝或臥式裝均可。
H42W不銹鋼立式止回閥材料表
| 型號 | PN | 工作壓力/Mpa | 適用溫度/℃ | 適用介質 | 材料 | ||
| 閥體、閥瓣 | 導向閥 | 密封面 | |||||
| H42W-16P | 16 | 1.6 | ≤200 | 腐蝕性介質 | 鉻鎳鈦不銹鋼 | 鉻鎳鈦不銹鋼 | 鉻鎳鈦不銹鋼 |
| H42W-25R | 25 | 2.5 | 弱腐蝕介質 | 鉻鎳鉬鈦不銹鋼 | 鉻鎳鉬鈦不銹鋼 | 鉻鎳鉬鈦不銹鋼 | |
H42W不銹鋼立式止回閥性能規范
| 技術參數 | 壓力等級 | ||||||||||
| 16 | 20 | 25 | 32 | 35 | 40 | 45 | 50 | 60 | 70 | ||
| 工作壓力(Mpa) | ≤16 | ≤20 | ≤25 | ≤32 | ≤35 | ≤40 | ≤45 | ≤50 | ≤60 | ≤70 | |
| 試驗壓力(M) | 強度 | 24 | 30 | 37.5 | 48 | 52.5 | 60 | 67.5 | 75 | 90 | 105 |
| 密封 | 17.6 | 22 | 27.5 | 35.2 | 38.5 | 44 | 49.5 | 55 | 66 | 77 | |
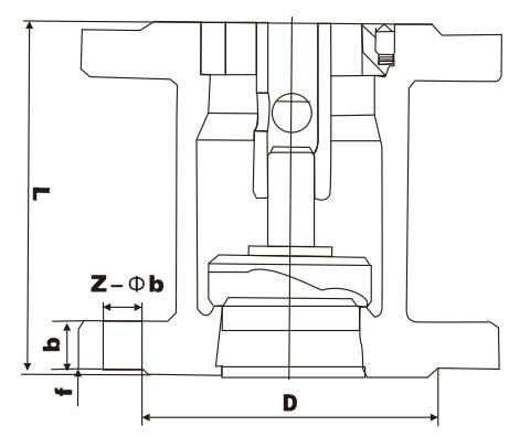
H42W不銹鋼立式止回閥主要外形尺寸1.6Mpa

| 型號 | 公稱通徑DN | 主要連接尺寸尺寸 | |||||||||
| L | D | D 1 | D 2 | D 6 | b | f | f 1 | Z-φd | H | ||
| H42W-16PH42W-16R | 40 | 200 | 145 | 110 | 85 | - | 16 | 2 | - | 4-18 | 95 |
| 50 | 230 | 160 | 125 | 100 | - | 16 | 2 | - | 4-18 | 105 | |
| 65 | 290 | 180 | 140 | 120 | - | 18 | 2 | - | 4-18 | 120 | |
| 80 | 310 | 195 | 165 | 135 | - | 20 | 3 | - | 8-18 | 130 | |
| 100 | 350 | 215 | 180 | 155 | - | 20 | 3 | - | 8-18 | 140 | |
| 125 | 400 | 245 | 210 | 185 | - | 22 | 3 | - | 8-12 | 155 | |
| 150 | 480 | 280 | 240 | 210 | - | 24 | 3 | - | 8-23 | 180 | |
| 200 | 600 | 335 | 295 | 265 | - | 26 | 3 | - | 12-23 | 215 | |
2.5Mpa
| 型號 |
公稱通徑 DN(mm) |
尺寸(mm) | ||||||||
| L 1 | L 2 | L 3 | D | D1 | D2 | b | f | Z-Φ | ||
| H42W-25PH42W-25R | 15 | - | 85 | 85 | 95 | 65 | 45 | 16 | - | 4-Φ14 |
| 20 | - | 95 | 95 | 105 | 75 | 55 | 16 | - | 4-Φ14 | |
| 25 | - | 100 | 105 | 115 | 85 | 65 | 16 | - | 4-Φ14 | |
| 32 | - | 105 | 150 | 135 | 100 | 78 | 16 | - | 4-Φ14 | |
| 40 | - | 115 | 160 | 145 | 110 | 88 | 18 | - | 4-Φ14 | |
| 50 | 140 | 125 | 170 | 160 | 125 | 100 | 20 | 3 | 4-Φ14 | |
| 65 | 160 | 145 | 180 | 180 | 145 | 120 | 22 | 3 | 8-Φ18 | |
| 80 | 185 | 155 | 200 | 195 | 160 | 135 | 22 | 3 | 8-Φ18 | |
| 100 | 210 | 210 | 210 | 230 | 190 | 160 | 24 | 3 | 8-Φ23 | |
| 125 | - | 275 | 275 | 275 | 220 | 188 | 28 | 3 | 8-Φ25 | |
| 150 | 300 | 225 | 300 | 300 | 250 | 218 | 30 | 3 | 8-Φ25 | |
| 200 | 380 | 380 | 380 | 360 | 310 | 278 | 34 | 3 | 12-Φ25 | |
溫馨提示:
本文中所有文字、數據、圖片均只適用于參考。需要查看更多的H42W不銹鋼立式止回閥性能參數、結構尺寸參數、價格等詳情,或要求高質量印刷樣本,請聯系我們。