J23W針形截止閥
產品概況
產品型號:J23W
公稱通徑:DN15-150mm
試驗壓力:PN16-64MPa
主要材質:不銹鋼
連接型式:螺紋
工作溫度:常溫
壓力環境:常壓
驅動方式:手動
流動方向: 單向
適用介質:各種高腐蝕化學介質
| 零件名稱 | 閥桿、閥蓋 | 閥桿、閥瓣 | 填料 |
| J21W-16P | 鉻鎳不銹鋼 | 鉻鎳不銹鋼 | 聚四氟乙稀、柔性石墨 |
| J21W-40、J21W-160 | 優質碳鋼 | 鉻不銹鋼 |
J23W針形截止閥主要性能規范
| 型號 | 公稱壓力(MPa) | 試驗壓力PS(MPa) | 工作壓力(MPa) | 工作溫度(℃) | 適用介質 | ||
| 殼體 | 密封(液) | 密封(氣) | |||||
| J21W-16 | 1.6 | 2.4 | 1.76 | 0.6 | 1.6 | P≤200℃ | 液化石油氣水、油品等 |
| J21W-40P | 4.0 | 6.0 | 4.4 | 0.6 | 4.0 | ||
| J21W-160 | 16.0 | 17.6 | 17.6 | 0.6 | 16.0 | C≤425℃ | |
| J21W-320P | 32.0 | 48.0 | 35.2 | 0.6 | 32.0 | ||
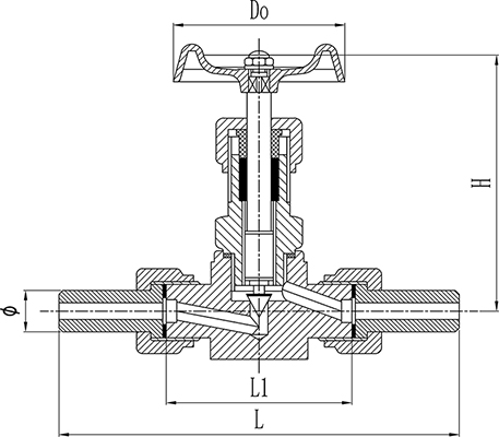
J23W針形截止閥主要外形及連接尺寸

| 公稱直徑(mm) | 尺 寸 | 重量(Kg) | ||||||
| D0 | D1 | D2 | L | H1 | H2 | M | ||
| 6 | 70 | 14 | 6 | 135 | 96 | 106 | 20×1.5 | 0.8 |
| 10 | 80 | 18 | 10 | 156 | 115 | 125 | 24×1.5 | 1.1 |
| 15 | 100 | 22 | 15 | 180 | 122 | 132 | 30×2 | 2.0 |
| 20 | 110 | 28 | 18 | 185 | 156 | 166 | 36×2 | 3.0 |
| 25 | 140 | 33 | 22 | 185 | 169 | 180 | 42×2 | 3.2 |
溫馨提示:
本文中所有文字、數據、圖片均只適用于參考。需要查看更多的J23W針形截止閥性能參數、結構尺寸參數、價格等詳情,或要求高質量印刷樣本,請聯系我們。